- Fuera de stock
Controlador de carga para panel solar 5A MPPT
Controlador de carga para panel solar 5A MPPT
Las turbinas Francis son turbinas hidráulicas que se pueden diseñar para un amplio rango de saltos y caudales, siendo capaces de operar en rangos de desnivel que van de los dos metros hasta varios cientos de metros. Esto, junto con su alta eficiencia, ha hecho que este tipo de turbina sea el más ampliamente usado en el mundo, principalmente para la producción de energía eléctrica
Especificaciones:
Cabezal de Agua: 10 a 25 metros
tasa de Flujo: 0.009 - 0.015 m^3/s
Potencia: 1000W
Velocidad en rpm/min: 500-1500 rpm/min
Diametro del tubo: 90mm
Voltaje de salida: 220V
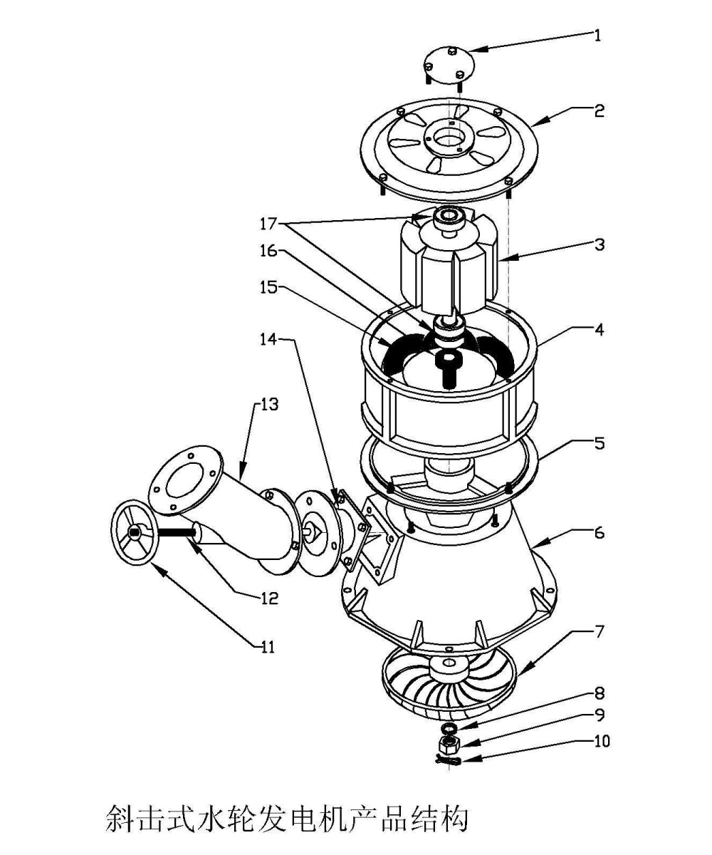
Generador Hídrico:
1, presión axial / metal axial: ampliamente utilizada en ríos de flujo alto de baja altura;
2, estructura de la turbina Tipo Francis; Francis es compacto, de alta eficiencia, se puede adaptar a una amplia gama de cabeza, es ampliamente utilizado en el mundo
3, tubular - estructura similar al flujo axial;
4, inclinado - para alto cabezal y pequeño flujo. Plantas de energía, compacto, sin tubo de aspiración, puede reducir la altura de la planta, al tiempo que reduce la profundidad de excavación para reducir los costos de construcción de la planta.
Las principales características del grupo electrógeno hidroeléctrico:
1. Entrada de presión, salida de presión; agua de tubería, agua de tubería.
2. Separación de turbina y generador, mantenimiento fácil, reemplazo de piezas de desgaste.
3.Turbine solo 2 rodamientos, estructura es más confiable.
4. Los cojinetes de la turbina hidráulica tienen un sistema de lubricación de aceite independiente, con una vida útil más larga.
5. La turbina hidráulica tiene un dispositivo de equilibrio de fuerza axial, puede equilibrar completamente la fuerza axial, teniendo una vida más larga
Contenido:
1 x Generador de energia Turbina Francis 1KW
Su agradecimiento a la reseña no pudo ser enviado
Reportar comentario
Reporte enviado
Su reporte no pudo ser enviado
Escriba su propia reseña
Reseña enviada
Su reseña no pudo ser enviada
Controlador de carga para panel solar 5A MPPT
Mini pala de turbina eólica, eje de diámetro de 1/8", w tornillos de fijación, 2 lados.
Controlador de carga Solar 30A lifePo4 PWM
Sensor de microondas analogo FMK24-S series 24GHz
CONTROLADOR CARGA SOLAR MPPT 20A 12-24V
Turbina eólica, diámetro de 18 ", 3 aspas
Controlador de Carga 10A PWM 12/24V HC2410
Modulo rectificador de carga para panel solar MPTT 3A
Distribuidor de Energia DC de 1 Entrada Hembra a 8 Salidas Macho
Paneles solares de 18V de 20W, 40W, 60W, 100W, 150W y 180W
Escoger un tipo:
Conector para sistema de seguridad tipo BNC a dos lineas.
Controlador de energía MPPT para turbina de viento 600W 12V
Las turbinas Francis son turbinas hidráulicas que se pueden diseñar para un amplio rango de saltos y caudales, siendo capaces de operar en rangos de desnivel que van de los dos metros hasta varios cientos de metros. Esto, junto con su alta eficiencia, ha hecho que este tipo de turbina sea el más ampliamente usado en el mundo, principalmente para la producción de energía eléctrica
check_circle
check_circle